Выбор качественной помпы УАЗ Патриот
| Фактор | Рекомендации |
|---|---|
| Производительность | Помпа должна обеспечивать достаточный объем циркулирующей жидкости для нормальной работы двигателя. Рекомендуется выбирать помпу с соответствующей производительностью, указанной в технической документации УАЗ Патриот. |
| Качество материалов | Предпочтение следует отдавать помпам, изготовленным из высококачественных материалов, таких как нержавеющая сталь, алюминий и прочие современные сплавы. Это обеспечит надежность и долговечность компонента. |
| Гарантия | Компания-производитель должна предоставлять гарантию на помпу. Наличие гарантии является подтверждением качества и надежности оборудования. |
| Цена | За качественное оборудование придется заплатить немного больше, но не стоит экономить на помпе. Оптимально выбрать помпу, сочетающую в себе соотношение цены и качества. |
При выборе помпы для УАЗ Патриот дизель 51432 рекомендуется обращаться к надежным производителям, ориентируясь на отзывы и рекомендации экспертов. Не стоит покупать сомнительные и некачественные аналоги, так как это может привести к негативным последствиям для двигателя и его работоспособности.
Система питания двигателя ЗМЗ-409 (УАЗ-Патриот, УАЗ-Хантер)
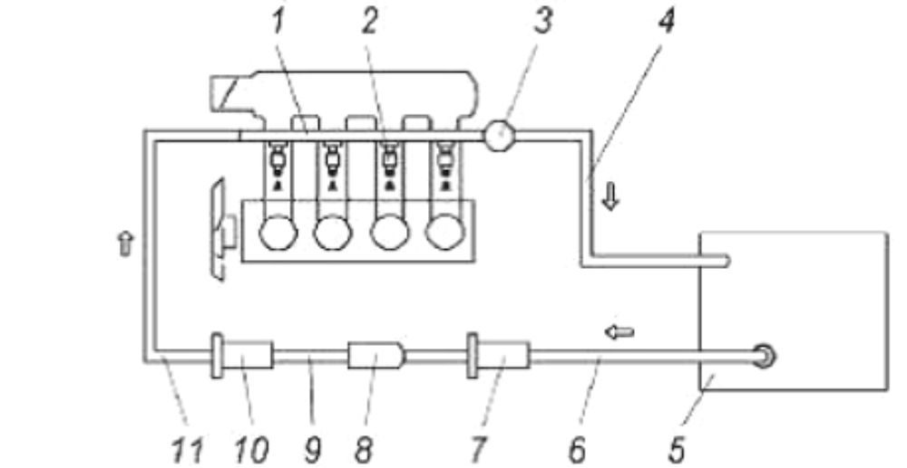
Система питания топливом ЗМЗ-409 (УАЗ-Патриот, УАЗ-Хантер) осуществляется посредством впрыска топлива во впускную трубу электромагнитными форсунками, управляемыми микропроцессором. Система питания ЗМЗ-409 состоит из топливного бака 5, топливопроводов 4, 6 и 9, электробензонасоса 8, топливных фильтров 7 и 10, топливопровода двигателя 1, отлитого из алюминиевого сплава, с регулятором давления топлива 3 и электромагнитными форсунками 2.

Схема системы питания двигателя ЗМЗ-409 (УАЗ-Патриот, УАЗ-Хантер)
- 1 — топливопровод двигателя;
- 2 — электромагнитные форсунки;
- 3 — регулятор давления топлива;
- 4 — топливопровод отвода топлива в бак;
- 5 — топливный бак;
- 6 — топливопровод низкого давления;
- 7 — топливный фильтр грубой очистки;
- 8 — электробензонасос;
- 9 — топливопровод вы-сокого давления;
- 10 — фильтр тонкой очистки топлива;
- 11 — топливопровод высокого давления.
Помпа на уаз патриот four hundred nine двигатель
Всем привет!) Сейчас расскажу о подмене помпы на Патрике с four hundred nine мотором. Вообще сам искал кто расскажет и подскажет, но, что-то ничего кроме типа того : все просто бери снимай-меняй. Все понял иду снимаю-меняю. Вообщем купил помпу. Пригнал авто на завод.Вам понадобятся ключи :«17» — им будете откручивать two болта крепления гидроусилителя. Болты не очень удобные они изнутри.«12» — им будете откручивать шкив от помпы и крепление площадки гидроусилителя«7».ключик накидной, для откручивания хомутов«6» — шестигранник- им откручивать винты крепящие помпу.Прокладка под термостат новаяОтвертка крест и плоская.Также герметик, у меня был обычный. Нужен для промазки прокладки помпы и термостата.
Способ без снятия радиатора и вентилятора!
Да и еще один нюан, сделайте себе приступочку, я конечно понимаю все выскокие мужики, но после того как постоите в наклон 20-30 мин, взвоете)))))И так все всем обзавелись, разложили инструменты) откручиваем гидрач- two болта на 17. Отодвигаем в сторону.Далее, ослабляем хомуты термостата на помпу. Откручиваем винты «6»-гранником 2-шт держащие термостат. Снимаем его, что бы не мешал.Берем «12»й и откручиваем винты крепления площадки гидроусилителя спереди и позади. Two шт, небольшой длинны.Далее откручиваем кастрюлю на помпе, three винта «12». Снимаем, откидываем ремень. «12» м откручиваем верхний винт крепления площадки.Теперь переходим к «сладкому»))) шестигранник наше все) откручиваем нижний винт крепления площадки.И снимаем площадку.Далее, откручиваем верхний и нижний винт крепления помпы, к ним говенно подлезть, т.к. мы не снимали крыльчатку! И радиатор! Снимаем помпу! Поздравляю Вы молодец!)) Примерное время на снятие 30-50 мин, в зависимости от вашей сноровки, и если никто не будет дергать)))Дальше все просто, зачищаем от старой прокладки помпы и термостата, намазюкиваем герметик на помпу, на блок, прокладку лучше приклеить сразу к блоку, не убежит при установке новой помпы.Собственно все))) Сборку проводить в обратной последовательности))Всем удачи и Добра))
Помпа (водяной насос) является основным компонентом системы охлаждения любого ДВС (двигателя внутреннего сгорания) с водяным охлаждением, то есть там, где все время циркулирует какая-то жидкость, будь то антифриз, тосол или даже вода. Помпа выглядит как насос с крыльчаткой (лопастями), за счет которых создается движение жидкости по системе.
Иногда случается так, что насос по какой-то причине перестает нормально функционировать, в результате чего двигатель начинает греться и легко может заклинить, а это уже крупные расходы на ремонт, фактически — капремонт. Чтобы всего этого избежать, необходимо делать замену детали на новую раз в несколько тысяч км, как предписывает регламент, либо ездить до появления характерных признаков скорой поломки насоса.
Замена насоса своими руками в охлаждающей системе Патриота
Полная замена водяного насоса на UAZ Patriot стандарта ЕВРО-3 потребуется вам в 2-ух случаях: когда требуется доступ к узлам мотора или когда необходимо по какой-то причине произвести ремонт/замену данного устройства.
Что вам потребуется из инструментов, перед началом замены:
- Обычная монтажная лопатка.
- Ключ 12’.
- Разные отвертки.
- Шестигранник 6’.
Сама замена, если в авто стоит 409 двигатель, осуществляется в следующей последовательности:
- Внедорожник перед самым началом проведения работы необходимо установить на ручной тормоз.
- Следующим этапом является слив из системы охлаждающей жидкости.
- Необходимо снять с кронштейна насос гидроусилителя рулевого колеса.
- Вязкостная муфта, располагающаяся в приводе вентилятора, также извлекается.
- Демонтируется в обязательном порядке ремень привода генератора.
- Извлечь нужно и шкив с отражателем. Для этой цели шкив следует зафиксировать при помощи обычной отвертки, и после выкрутить 3-и винта, после чего легко снимаются и отражатель, и сам шкив.
- Кронштейн насоса гидроусилителя руля крепится на специальных болтовых соединениях, которые нужно выкрутить.
- Извлекается непосредственно сам кронштейн.
- Патрубки, находящиеся около насоса, крепятся на хомутах, которые следует ослабить, насколько это возможно.
- Спереди ВН располагаются 2 болтовых соединения, которые требуется отвинтить.
- На задней части помпы имеется 1 болт, его также надо вывинтить.
- Последним этапом является извлечение помпы без каких-либо усилий.
После извлечения насоса можно смело приступать к ремонтным работам. В основном требуется полная замена устройства, а перед установкой нового механизма не забывайте, как следует очистить все уплотнительные места, и в обязательном порядке установите новые прокладки.
Дабы в дальнейшем избежать течи охлаждающей жидкости, на прокладки всегда наносите герметик. Установка нового насоса производится в обратном снятию порядке.
Виды систем охлаждения УАЗ Буханка
Работа двигателя внутреннего сгорания связана с выделением тепла. По этой причине, система охлаждения УАЗ Буханка 409 двигатель предназначена для приведения в норму температурного режима внутри агрегата. Эта функция базовая, поскольку на современных моторах охлаждение выполняет и дополнительные задачи.
Перегрев мотора усиливает механическую работу, ведёт к потере мощности, поскольку делает наполнение камеры хуже. Перегретые детали самостоятельно воспламеняют рабочую смесь, усиливая износ, сжигая масло, снижая механические свойства материала, приводя двигатель в негодность. Недостаток тепла приводит к конденсации топлива на стенках и постепенному стеканию в поддон с маслом. Разжижение смазки увеличивает износ трущихся деталей, снижая мощность мотора.

Сложность эксплуатации охлаждения в том, что система поддерживает приемлемый режим, балансируя между недостатком и избытком тепла. В идеале, рабочая температура держится в пределах 90°С.
Дополнительные функции охлаждения:
- Поддержание температуры в печке, вентиляции, кондиционере;
- Охлаждение смазки мотора;
- Снижение температуры в механизме рециркуляции сгоревших газов;
- Снижение температуры воздуха в турбинном наддуве мотора;
- Снижение температуры рабочей жидкости в автоматической коробке передач.
В связи со сложностью поддержания постоянной рабочей температуры, разработано три вида систем охлаждения. Каждый из видов применяют пропорционально предъявленным требованиям к мотору и условиям, в которых будет эксплуатироваться агрегат.
- Охлаждение жидкостью (замкнутое, незамкнутое);
- Охлаждение воздухом (естественное, принудительное);
- Охлаждение смешанное (гибридное).
Современные схемы, к которым относится система охлаждения 402 двигатель, чаще других используют комбинированное (смешанное) снижение температуры. Схема объединяет свойства жидкой субстанции и воздуха, которые дополняют и компенсируют друг друга.
Схема cooling system УАЗ «Буханка»:

Как поменять помпу (водяной насос) на УАЗ Патриот
Помпа (водяной насос) является основным компонентом системы охлаждения любого ДВС (двигателя внутреннего сгорания) с водяным охлаждением, то есть там, где все время циркулирует какая-то жидкость, будь то антифриз, тосол или даже вода. Помпа выглядит как насос с крыльчаткой (лопастями), за счет которых создается движение жидкости по системе.

Иногда случается так, что насос по какой-то причине перестает нормально функционировать, в результате чего двигатель начинает греться и легко может заклинить, а это уже крупные расходы на ремонт, фактически — капремонт. Чтобы всего этого избежать, необходимо делать замену детали на новую раз в несколько тысяч км, как предписывает регламент, либо ездить до появления характерных признаков скорой поломки насоса.
Замена помпы на УАЗ Патриот

Для нормального функционирования двигателя в конструкции UAZ Patriota установлена система охлаждения, благодаря которой поддерживается необходимая температура силового агрегата. Если система охлаждения перестает работать то двигатель может выйти из строя. Одну из важных функций в этой системе играет помпа или насос. Благодаря этому устройству охлаждающая жидкость движется по системе.
- 1 Назначение
- 2 Признаки и причины поломки
- 3 Замена
- 4
Назначение
Благодаря помпе в системе внедорожника обеспечивается постоянная циркуляция охлаждающей жидкости, это устройство по функционалу напоминает насос у которого имеются лопасти. Если помпа УАЗ Патриот на 409 двигателе выходит из строя и перестает работать, то это приводит к тому что мотор закипает что приводит к отрицательным последствиям например заклинивание.
Признаки и причины поломки
Основная причина по которой помпа на УАЗ Патриот выходит из строя это износ подшипника ступицы шкива, в результате на него начинает попадать охлаждайка. Помимо этой причины могут быть и другие, например:
- Целостность сальника нарушается. Довольно часто это случается из-за использования некачественных промывок;
- Крыльчатка подвергается коррозии. Это связанно с некачественным тосолом или антифризом;
- Через уплотнительную прокладку расположенную между блоком мотора и насосом начинается течь. Проблема решается заменой прокладки или промазкой герметиком.
Прежде чем помпа выйдет из строя появляется ряд признаков говорящих что имеются проблемы и устройство в скором времени может выйти из строя.
Признаки могут быть следующими:
- Нужно визуально осмотреть насос, если сальник износился вокруг помпы будут иметься потеки;
- Если потеков нет, заведите мотор и если будет доносится свист или срежет, или идут посторонние вибрации то скорей всего имеются проблемы с крыльчаткой или подшипником;
- Начинает греться двигатель, даже в холодное время суток. На первый взгляд при осмотре может показаться что деталь исправна, но если разобрать ее то можно увидеть что лопасти сломались или их разъело и жидкость перестает качаться;
- Антифриз изменил свой цвет;
Для того чтобы не пришлось менять весь узел целиком, желательно устранять неисправность на ранней стадии.
Замена
Как правило замена помпы на внедорожнике УАЗ Патриот происходит в следующих случаях, когда деталь выходит из строя и нужно произвести ее ремонт или когда нужно получить доступ к некоторым элементам двигателя например во время замены ремня ГРМ. Довольно часто деталь меняется полностью, но при желании ее можно попробовать отремонтировать, для этих целей продается специальный ремкомплект который включает в себя:
- Крыльчатку;
- Сальник;
- Подшипник.
Прежде чем производить ремонт старую деталь нужно снять, для этого необходимо подготовить весь необходимый инструмент:
- Головку на двенадцать или рожковый ключ;
- Шестигранник размером на шесть;
- Для откручивания хомута накидной ключ на семь;
- Отвертку с плоским концом;
- Монтажную лопатку.
Когда весь инструмент готов можно переходить к демонтажу:
- Первым делом UAZ Patriot устанавливается на ручник и под колеса подкладываются упоры;
- Сливается охлаждающая жидкость;
- С кронштейна демонтируется гидроусилитель руля;
- Снимается расположенная в приводе вентилятора вязкостная муфта;
- У привода генератора демонтируется ремень;
- Извлекается отражатель шкива и сам шкив. Для этого шкив фиксируется отверткой и выкручиваются три винта крепления;
- Хомуты патрубков которые подходят к помпе ослабляются;
- Откручивается пара болтов спереди и один болт сзади, после чего насос извлекается.
Когда деталь снята можно производить все необходимые работы. Перед установкой новой детали очищаются уплотнительные места и устанавливается новая прокладка. Что бы не было протечки жидкости, на прокладку перед установкой желательно нанести герметик. Установка производится в обратном порядке.
Рекомендуем ознакомится с видео:В заключение можно сделать вывод, что помпа в УАЗ Патриоте является неотъемлемой часть которая должна быть всегда исправна, поэтому необходимо следить за ее состоянием, и в случае появления признаков говорящих что есть проблемы, проверить ее исправность.
Замена помпы на УАЗ Патриот Ссылка на основную публикацию
Инструкция по замене помпы УАЗ Патриот
Шаг 1: Подготовка

Перед началом работы необходимо убедиться, что автомобиль полностью остыл. Откройте капот и найдите помпу в системе охлаждения. Убедитесь, что у вас есть все необходимые инструменты: ключи, отвертки, крышку и защитную прокладку для новой помпы.
Шаг 2: Отсоединение
Сначала нужно отсоединить аккумулятор, чтобы предотвратить повреждение электрических компонентов. Затем аккуратно снимите ремень привода помпы
Обратите внимание на порядок установки ремня, чтобы правильно установить его после замены
Шаг 3: Снятие старой помпы
Отверните крепежные болты, которыми фиксируется помпа
Осторожно удалите старую помпу, избегая повреждений других компонентов системы охлаждения. Тщательно очистите поверхность крепления помпы, удалив остатки старого герметика или уплотнительной прокладки
Шаг 4: Установка новой помпы
Нанесите небольшое количество прокладочного материала или герметика на поверхность крепления помпы. Установите новую помпу на место и закрепите ее крепежными болтами согласно рекомендациям производителя.
Шаг 5: Подключение ремня привода

Тщательно установите ремень привода помпы в соответствии с правильным порядком. Убедитесь, что ремень плотно прилегает к шкиву и не соскальзывает.
Шаг 6: Проверка
После установки новой помпы, аккуратно закройте крышку и соедините аккумулятор. Запустите двигатель и проверьте, чтобы не было утечек или других проблем в системе охлаждения. Даем двигателю прогреться, а затем проверьте уровень и качество охлаждающей жидкости.
Необходимо отметить, что данная инструкция является общей рекомендацией. Всегда следуйте рекомендациям производителя и при необходимости проконсультируйтесь с квалифицированным специалистом.
Ремонт или замена
Помпа для УАЗ Патриот с двигателем ЗМЗ 409 обычно меняется целиком на новую, хотя при желании можно попытаться ее отремонтировать самому. Существуют ремкомплекты ВН для многих двигателей УАЗ, в том числе и для 409 двигателя. В состав ремкомплекта входят новые:
- подшипник
- сальник
- крыльчатка
Но, для начала вам придется снять старую помпу с двигателя.
Перед тем, как снять насос с автомобиля, нужно подготовить сам автомобиль и необходимый инструмент, вам понадобятся:
- рожковый ключ на 12 (либо головка на 12);
- шестигранник на 6;
- накидной ключ на 7 для откручивания хомутов;
- отвертка с плоским лезвием;
- монтажная лопатка.
Далее, последовательность замены такая:
- Автомобиль УАЗ Патриот необходимо поставить на ручник, либо подложить упоры под колеса. Затем сливается охлаждающая жидкость.
- Снимается с кронштейна насос гидроусилителя рулевого управления.
- Осуществляется демонтаж вязкостной муфты привода вентилятора.
- Необходимо демонтировать ремень привода генератора и помпы.
- Извлеките шкив и отражатель шкива, зафиксировав шкив отверткой и выверните 3 винта, которыми он крепится.
- Необходимо открутить 3 болта крепления кронштейна насоса ГУР (гидроусилителя) и извлечь кронштейн.
- Ослабьте хомуты, при помощи которых крепятся подводящие патрубки к помпе.
- Открутите 2 болта спереди помпы и один сзади, после чего извлеките насос из автомобиля.
Независимо от того, снимали ли вы помпу, чтобы просто проверить ее состояние, или для доступа к другим узлам двигателя — после снятия необходимо в любом случае заменить прокладку на новую, во избежание течи ОЖ. Также, обязательно очистите поверхность прилегания, с которой соприкасается прокладка от всякого рода отложений. Рекомендуется на прокладку нанести тонкий слой герметика.
Монтаж новой помпы осуществляется в порядке, обратном снятию.
Необходимые инструменты для замены помпы УАЗ Патриот
Для успешной замены помпы на УАЗ Патриот вам понадобятся следующие инструменты:
1. Гаечные ключи: понадобятся гаечные ключи разных размеров для откручивания и закручивания болтов и гаек.
2. Головки и трещётка: для работы с болтами на помпе и других деталях двигателя.
3. Универсальный ключ: позволит вам работать с различными типами гаек и болтов, необходимыми при замене помпы.
4. Трубка или шланг: поможет вам сливать жидкость из системы охлаждения и заправлять её после установки новой помпы.
5. Штангенциркуль или микрометр: для проверки размеров и состояния новой помпы перед установкой.
6. Прокладки и уплотнители: при замене помпы часто требуется заменить прокладки и уплотнители. Убедитесь, что у вас есть необходимые запасные части.
7. Антифриз: необходим для заправки системы охлаждения после установки новой помпы.
8. Очиститель для рабочей поверхности: поможет удалить старый герметик, жидкость охлаждения и другие загрязнения с поверхностей, с которыми будет работать помпа.
Необходимые инструменты для замены помпы помогут вам эффективно и безопасно выполнить данную процедуру. Проверьте, что у вас есть все перечисленные инструменты перед началом замены помпы на УАЗ Патриот.
Назначение
Помпа обеспечивает непрерывную циркуляцию охлаждающей жидкости в системе автомобиля УАЗ Патриот. Помпа представляет собой насос с лопастями, при вращении которых обеспечивается непрерывное движение охлаждающей жидкости.
Если насос по какой-либо причине перестает функционировать, то температура в двигателе мгновенно поднимается, что приводит к закипанию силового агрегата. Каковы причины неисправности помпы двигателя ЗМЗ-409 на УАЗ Патриоте существуют, рассмотрим подробнее.
Неисправности
Основной причиной неисправности насоса является протечка в системе охлаждения. Это может повредиться уплотнитель, посредством чего происходит проникновение ОЖ к подшипнику помпы и выводит его из строя. Чтобы не допустить такой причины поломки, нужно периодически осуществлять проверочные мероприятия герметичности шлангов.
![]()
Старый и новый насос
Кроме того, возможны и следующие виды неисправностей помпы:
- Возникновение течи через прокладку.
- Нарушена целостность сальника.
- Износ подшипников.
- Коррозия крыльчатки (из-за некачественного тосола).
Выявить такого рода неисправности можно следующими способами:
- Наличие посторонних шумов, издающихся из подкапотного пространства. Свидетельствует о неисправности подшипников.
- Повышенная вибрация помпы.
- Изменение цвета антифриза.
Любую неисправность правильнее устранять на раннем признаке, нежели после менять целый узел или систему охлаждения.
![]()
Разъело лопасти некачественной охлаждающей жидкостью
Замена
Замена помпы ЗМЗ-409 двигатель Евро-3 может потребоваться в двух случаях: когда необходимо произвести ремонт этого устройства или же его замену; при необходимости доступа к узлам двигателя ЗМЗ-409 внедорожника УАЗ Патриот.
Перед тем как приступить к замене, убедитесь в наличие следующего инструмента:
- ключ на 12;
- шестигранник на 6;
- отвертки;
- монтажная лопатка.
Замена водяного насоса ЗМЗ-409 двигатель Евро-3 осуществляется таким образом:
- Автомобиль УАЗ Патриот устанавливается на ручной тормоз и сливается охлаждающая жидкость из системы.
![]()
После снятия насоса ГУРа
Далее приступаем к проведению ремонтных работ. Если требуется замена изделия, то перед установкой новой помпы необходимо очистить уплотнительные места и обязательно установить новые прокладки.
Кроме того, во избежание течи жидкости, необходимо на прокладки нанести слой герметика. Монтаж новой помпы осуществляется в порядке обратном снятию. На этом замена ВН ЗМЗ-409 двигатель Евро-3 внедорожника УАЗ Патриот закончена.
Подводя итог, необходимо заметить, что помпа является обязательным устройством, которое должно быть в исправном состоянии. Поэтому периодически следует контролировать ее состояние. Удачных ремонтных работ!
Особенности строения
УАЗ Патриот оснащается системой отопления жидкостного типа, представляющую собой часть системы охлаждения двигателя. Основная роль обогрева уделяется радиатору печки, который размещается в специальном пластиковом корпусе, располагающемся под центральной консолью. Система отопления и охлаждения двигателя соединены между собой с помощью резиновых шлангов, а разделяются они краном и заслонками. Ниже приведена общая схема строения отопления салона.
Вот так схематически выглядит процесс циркуляции охлаждающей жидкости в системе отопления внедорожника. Показаны теплообменники отопителей, из которых выведены по две трубки. Одна трубка является подводящей, через которую и поступает нагретый антифриз от двигателя. Этот антифриз проходит через радиатор отопителя и тем самым осуществляет его прогревание. Печка представляет собой не только теплообменник, но и центробежный вентилятор, работающий в нескольких различных режимах. С помощью вентилятора происходит нагнетание воздуха через радиатор, его нагрев, и далее поступление в салон посредством специальных воздуховодов. Охлажденная жидкость из радиатора отопителя поступает обратно в систему охлаждения двигателя посредством специального выводящего шланга.
В конструкции отопителя предусмотрена установка крана, с помощью которого осуществляется перекрытие подачи горячего воздуха к радиатору печки, а, значит, и в салон внедорожника Ульяновского производства. Ведь использование печки в летнее время не актуально, поэтому система охлаждения двигателя разделена специальным краном отопителя.
Воздуховоды и блок управления отопителем
В конструкции отопителя устанавливается электронасос, который предназначен для скорейшего прогона ОЖ по системе охлаждения ДВС. В таком случае, уже буквально через 2-3 минуты после старта мотора, осуществляется подача теплого воздуха в салон. Такая система отопления является наилучшим приспособлением, но имеющее так же и свои недостатки. Точнее, недостаток только один – это невозможность обогревания при заглушенном двигателе, что вызывает необходимость периодически запускать мотор, для прогрева интерьера кузова.
Автомобили Ульяновского производства УАЗ 3163 до 2012 года выпуска оснащены одним обогревателем, но в зависимости от комплектации могут иметь две печки. Ниже представлено схематичное изображение конструктивных особенностей такого агрегата.
Вторая печка располагается чаще всего под одним из передних сидений или между ними. Дополнительный обогреватель позволяет доставить теплый воздух не только для переднего пассажира и водителя, но и для пассажиров, сидящих сзади. Наличие двух отопителей не напрасно, ведь УАЗ Патриот имеет внушительный объем салона, прогреть который с помощью одного отопителя проблематично. Поэтому большинство владельцев внедорожника осуществляют установку дополнительного отопителя своими руками.
Схема обогрева и вентиляции
Итак, мы рассмотрели принцип работы обогревателя на УАЗ Патриот. Теперь рассмотрим, как осуществляется поступление теплого и холодного воздуха в салон авто. Для этого можно воспользоваться схемой, на которой изображены все основные конструктивные элементы рассматриваемого устройства.
Примерный путь воздушных потоков
Под номером 1 изображен нагнетающий вентилятор, с помощью которого холодный воздух поступает в систему отопителя. Если кран подачи открыт и ОЖ циркулирует по системе, то радиатор 7 нагревается. Воздух, нагнетаемый вентилятором, проходя сквозь него, прогревается и поступает посредством воздуховодов в салон автомобиля.
Рекомендуем: Контрольные точки геометрии кузова автомобиля — как проверить размеры в домашних условиях
Под номером 4 показана заслонка, с помощью которой осуществляется перекрытие воздуховода для обогрева ног. В конструкции рассматриваемого устройства имеется и специальная заслонка 8, с помощью которой происходит перекрытие воздуховода к камере с радиатором. Таким образом, воздух, нагнетаемый вентилятором, сразу поступает к воздуховодам. Заслонка 8 на авто представлена в виде регулятора на центральной консоли. Ниже на фото данный регулятор находится слева.
Подводя итог, следует отметить, что отопитель салона представляет собой сеть, состоящую из важных устройств. При выходе из строя одного из составляющих конструкции обогрева, нарушается функционирование печки. В таком случае, потребуется отыскать неисправность и устранить ее, что довольно несложно сделать самостоятельно. Но о видах неисправностей отопления внедорожника и замене составляющих деталей, можно подробнее узнать из данного сайта.
Причины поломки помпы и первые признаки
Причины повреждения водяного насоса:
- Разрушение резинового сальника из-за естественного износа или попадания в систему охлаждения посторонних примесей.
- Кавитационный износ лопаток ротора, происходящий под воздействием пузырьков газа, присутствующих в жидкости.
- Нарушение герметичности уплотнительной прокладки, смонтированной между корпусом помпы и картером движка.
- Люфт подшипника, возникающий из-за износа или в результате попадания антифриза через текущий сальник.
Поврежденный узел начинает пропускать жидкость, которая скапливается на корпусе или стекает по картеру двигателя на защиту поддона. Неисправный подшипник издает посторонние звуки, которые слышны на работающем моторе. При нарушении целостности ротора ухудшается циркуляция жидкости, что приводит к росту температуры силовой установки.
Неисправности помпы системы охлаждения
Самой частой и основной пожалуй причиной выхода из строя насоса становится протечка, образовавшаяся в системе охлаждения. В основном повреждается уплотнитель, и происходит проникновение жидкости к подшипнику насоса, что собственно и выводит систему из строя. Дабы этой поломки не произошло, автовладелец УАЗ Патриот должен регулярно проверять шланги на их герметичность и тогда не потребуется замена помпы.
Помимо этого бывают такие причины поломки:
- Из-за применения некачественного тосола происходит коррозия крыльчатки.
- Возникла течь непосредственно через прокладку.
- Подшипники пришли в негодность.
- У сальника нарушена целостность.
Как самостоятельно выявить такие неисправности:
- У антифриза изменился цвет.
- Из-под капота стали издаваться посторонние шумы (вероятно, испорчены подшипники).
- Вибрация помпы стала повышенной.
Каждую неисправность желательно устранять на ранней стадии, в противном же случае потребуется со 100-процентной вероятностью замена помпы.























