Как отрегулировать фары на Форд Фьюжн?
Если вы чувствуете, что ночью плохо видите, или вы чувствуете, что освещаете слишком низко или слишком высоко, во всех этих ситуациях ответственность за это несет только одна часть вашего автомобиля — ваши фары, также идентифицируемые как дальний свет. Тем не менее, эта регулировка может показаться легкой благодаря колесику на панели инструментов, вся регулировка намного сложнее, чем эта простая манипуляция, и в этой статье мы увидим как отрегулировать фары вашего Ford Fusion? Для этого, во-первых, мы увидим, почему вам нужно регулировать дальний свет, а во-вторых, как отрегулировать фары вашего Ford Fusion.
Зачем настраивать фары вашего Ford Fusion?
Итак, давайте начнем нашу страницу с информацией о том, как настроить фары вашего Ford Fusion. Для многих людей наши фары отрегулированы достаточно хорошо, и кажется, что они достаточно загораются после наступления темноты. Однако это не всегда так, и если посмотреть на этот параметр, либо потому, что фары на вашем Ford Fusion недостаточно яркие, или вам кажется, что они слишком слабые — хорошая идея .
Регулировка дальнего света вашего Ford Fusion для обеспечения безопасности
Для начала, регулировка фар автомобиля Ford Fusion должен быть закончен для получения базового объяснения безопасности. Независимо от того, что это для вас или для других пользователей, с которыми вы сталкиваетесь во время ночных поездок. На самом деле, если вы не видите достаточно, есть риск проигнорировать препятствие на своем пути или плохо спрогнозировать кривую. Однако, если ваши фары слишком мощные, даже если вы должны переключаться на ближний свет, когда пересекаете машину, время, необходимое для внесения этого изменения, обычно будет направьте на водителя перед собой свет фар вашего Ford Fusion
Следовательно, для окружающих, а также для вас важно иметь идеальную регулировку фар
Регулировка фар в Ford Fusion по юридическим причинам
В дополнение к безопасности, существует закон, который контролирует мощность, регулировку автомобильных фар (статьи R313-2 Дорожного кодекса), вот что он предлагает: иметь от 2 до 4 фар, которые должны светить на расстоянии не менее 100 метров. Их использование регулируется другим законодательством, европейским (директива 76/756 / EEC), в котором указано, что максимальная высота для регулировки фар отсутствует, но максимальная ширина луча должна соответствовать ширине ближнего света фар. и что максимальная яркость должна быть 225 000 кд.
Как отрегулировать фары Ford Fusion?
Теперь мы перейдем к разделу, который вас больше всего интересует в этой статье, как отрегулировать фары своего Форд Фьюжн? Эта настройка может показаться немного сложной, но, следуя рекомендациям, вы сможете завершить ее без особых проблем.
Подготовка к регулировке фар на Форд Фьюжн
Для начала вам нужно подготовить свой автомобиль, чтобы настроить дальний свет в хороших условиях, вот подготовка к выполнению:
- Поставьте машину на поверхность перед белой стеной, например, примерно в 4 или 5 метрах от стены.
- Тщательно проверьте давление в шинах.
- Убедитесь, что ручка регулировки высоты фонарей установлена на 0.
Регулировка фар его Ford Fusion
- Откройте капот, найдите винты для горизонтального и вертикального управления фарами вашего Ford Fusion (они обычно обозначаются, и те, что наверху, должны изменять вертикальность, а тот, который находится сбоку, контролирует горизонтальность регулировки).
- Используйте ткань или другую вещь, чтобы скрыть проектор, на котором вы не делаете коррекцию.
- Используя винты для горизонтальной коррекции, у вас должна быть самая интенсивная часть луча, которая должна быть немного правее вертикальной линии, отмеченной на стене.
.Если вы хотите отрегулировать противотуманные фары на своем Ford Fusion, просмотрите нашу страницу с материалами по этой теме.
Если у вас возникнут дополнительные вопросы о Ford Fusion, не стесняйтесь обращаться к нам. Ford Fusion категория.
Как произвести регулировку фар на Форд Фокус 1, 2, 3 своими руками
Автомобили прочно обосновались в каждой семье и стали отличными помощниками в большинстве задач. Автовладельцы часто выбирают Ford Focus за вместительный салон, крепкую подвеску, надежные силовые агрегаты и современный дизайн кузова.
При движении каждый водитель случайно попадает в выбоины на асфальте, из-за чего постепенно сбиваются настройки отражателей фар. Регулировка может потребоваться даже после замены ламп ближнего и дальнего света.
Регулировка фар на Форд Фокус 2 не только поможет восстановить правильный световой пучок, но и снизит вероятность ослепления встречных водителей. Правильные настройки сильно влияют на освещение дороги и видимость в снег или дождь.
Требования
Фара головного света всех поколений Фокуса полностью соответствует требованиям безопасности автомобиля. Фары ближнего света создают четкий луч с острыми краями и углом наклона бордюра для правостороннего движения. За дальний свет отвечает отдельный модуль, настройки которого зависят от положения отражателя ближнего света.
Все комплектации Focus оснащены электрической регулировкой луча. Модели с ксеноновыми лампами оснащены автоматическим корректором, он устанавливает высоту луча в соответствии с положением тела. Базовые версии с галогенными лампами позволяют регулировать параметры луча с помощью кнопки в салоне.
Линия реза не должна выходить за положение глаз едущего навстречу ей человека, иначе она будет ослеплена, что может привести к трагическим последствиям. Горизонтальное положение левой оптики должно совпадать с правой. При отклонении требуется регулировка положения отражателей в соответствии с требованиями ГОСТ Р 51709-2001.
Регулировка фар на Форд Фокус 2
На Ford Focus 2 фары регулируются с помощью двух винтов, отвечающих за горизонтальное и вертикальное положение отражателя. Для автонастройки нужна небольшая подготовка:
- Проверьте давление в шинах. При необходимости накачайте колеса до требуемых значений, указанных в руководстве по эксплуатации или табличке за столом водителя.
- Очистите багажник от лишнего груза.
- Заполните топливный бак хотя бы наполовину.
- Выберите ровную площадку с ровной стеной (это может быть дверь гаража, стена магазина, дом или плоский забор).
- Подготовьте инструменты (рулетка, крестовая отвертка, ключи Torx, мел или маркер).
- В зависимости от конфигурации для установочных винтов требуется торцевой ключ Torx или шестигранный ключ на 7».
Настройка оптики не занимает много времени, не требует определенных знаний. Для настройки выполните следующие действия:
- установить автомобиль на площадку лицом к стене на расстоянии ровно 3 метра;
- открыть капот, включить ближний свет;
- измерить высоту положения светильника относительно земли, линию с такой же высотой перенести на стену;
- отметьте центр нашей машины вертикальной линией на стене;
- между центрами луча левой и правой фары винтом установить расстояние 1270 мм (центр луча находится в точке, где горизонтальный предел становится путеводителем);
- положение горизонтальной линии на 35 мм ниже высоты положения огня, указанной выше;
- когда указанные значения верны, то регулировку оптики можно считать завершенной.
В Форд Фокус 2 рестайлинг и дорестайлинг регулировка фар ничем не отличается, кроме расположения винтов, регулирующих свет.
Настройка положения фар в Фокус 3
Требования по установке галогенных фар на Фокус третьего поколения не отличаются от таковых на автомобиль второго поколения. Параметры удаленности от стены и этапы подготовки перед работой остаются без изменений. Расстояние между центрами лучей фар составляет 1280 мм, потому что автомобиль немного шире.
Основное и единственное отличие заключается в регулировочном винте – для него потребуется специальный шестигранный ключ «на 8». Купить инструмент можно в автомагазине или на рынке.
Первая модель
На Фокус первого поколения с завода устанавливаются только галогеновые фары. Их легко настроить самостоятельно.
Перед началом работы нужно помыть фары, заправить бак и почистить багажник. Регулировка производится на расстоянии 3 м от стены на ровной поверхности. В отличие от FF 2-го поколения, высота линии отделки должна быть на 5 мм ниже от высоты ближнего света до линии земли. Отражатель меняет положение с помощью 2 винтов.
Правильная регулировка фар не только обеспечит хорошую видимость во время движения, но и не доставит неудобств водителям на встречном транспорте. Световой луч Focus следует проверять не реже одного раза в год во время технического обслуживания.
Меры безопасности
Чтобы при проведении работ не нанести вреда здоровью и не сломать фары, нужно помнить несколько простых советов:
- Надевать перчатки при работе и не касаться проводки.
- Использовать только подходящий инструмент для регулировочных винтов, они очень легко ломаются.
- Ставить машину на ручной тормоз.
- При регулировке не прикладывать излишнее усилие.
В завершении еще один метод регулировки.
Отрегулировать свет фар несложно, если есть ровная площадка со стеной напротив нее. Главное – правильно нанести разметку, от этого зависит точность регулировки. Если после проведения работы встречные водители мигают, значит свет бьет слишком высоко и его нужно опустить.
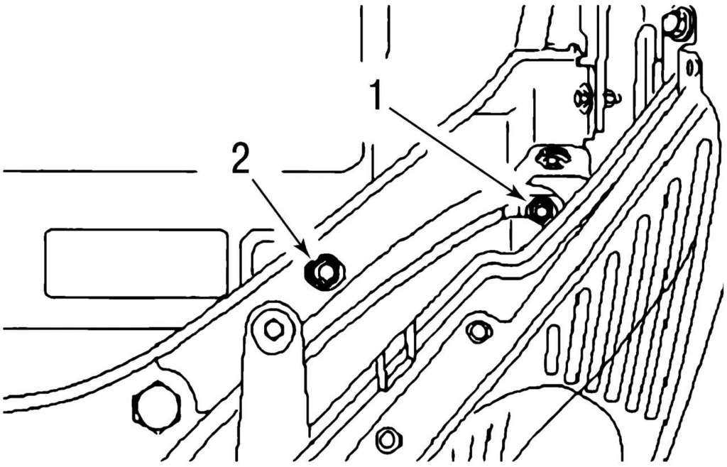
Диагностика и корректировка света фар автомобиля Форд Фьюжен Диагностику и корректировку света фар производите на снаряженном автомобиле (с целиком заправленным топливным баком, комплектом приспособлений и запасным колесом). Вам понадобится отвертка с крестообразным лезвием. 1. Заранее проконтролируйте и при надобности доведите до нормы давление воздуха в шинах. 7. Откройте капот и, проворачивая регулировочные винты левой фары, откорректируйте позиция на экране светового пятна по горизонтали… 9. Правую фару регулируйте точно также.
Так размещаются регулировочные винты блок-фары автомобиля Ford Fusion. Корректировка света фар 2. Поставьте автомобиль Форд Фьюжен перпендикулярно гладкой стене (например, в гараже) на расстоянии 3 м. Положите на сиденье водителя вспомогательный груз массой 75 кг. Разметьте на стене экран, как изображено на рисунок. 4.6. Продольная плоскость симметрии автомобиля обязана проходить по линии 0 на экране. Качните транспортное средство сбоку, чтобы самоустановились пружины подвесок. 3. Проверьте на вашем автомобиле высоту центров фар от пола. Это будет промежуток h на экране. 4. Поставьте редуктор электрокорректора света фар на панели приборов в положение, соответствующее нагрузке автомобиля с одним водителем. 5. Включите близкий свет. 6. Закройте правую фару непрозрачным материалом. 8. …и вертикали, если размещение световых пятен не соответствует рисунку. 10. Фары автомобиля Ford Fusion считаются отрегулированными, когда верхние границы левых звеньев световых пятен совпадают с линией 4, а вертикальные линии 1 и 2 проходят через точки Е1 и Е2 пересечения горизонтальных и наклонных участков световых пятен. Если на автомобиле размещены противотуманные фары, то направление их пучка света нужно настроить только по высоте. Проворачивая регулировочный винт, добейтесь, чтобы верхние границы световых пятен находились на линии 4 или едва ниже ее.
Если включены лампы наружного освещения, и выключено зажигание, в момент открывания двери водителя звучит предупреждающий сигнал.
Направление света фар следует отрегулировать для соответствия левосторонней или правосторонней системе движения.
Индикатор на панели приборов горит, если включены передние противотуманные фары. Передними противотуманными фарами следует пользоваться, только если видимость значительно ограничена туманом, снегом или дождем.
В автомобилях, не оснащенных передними противотуманными фарами, переключатель управления можно вытянуть только на одну позицию. Оба индикатора на панели приборов горят, если включены передние и задние противотуманные фары/фонари.
ВНИМАНИЕЗадние противотуманные фонари следует включать только в условиях ограниченной видимости (менее 50 м) и запрещается включать во время дождя или снегопада. Необходимо потянуть рычаг в сторону рулевого колеса
Для возврата в режим ближнего света фар снова потянуть рычаг в сторону рулевого колеса
Загрузка Положения корректора Количество человек Груз в багажном отделении на передних сиденьях на задних сиденьях 1-2 — — 1-2 3 — 1 1-2 3 макс. 1,5 1 — макс. 2
Необходимо потянуть рычаг в сторону рулевого колеса. Для возврата в режим ближнего света фар снова потянуть рычаг в сторону рулевого колеса.
-
Как изменить направление вращения кулера компьютера своими руками
-
Как сделать громкую связь на телефоне texet
-
Как сделать телефон иной
-
Как сделать будильник без телефона
- Ниссан сентра замена масла в вариаторе своими руками
Что нужно сделать для регулировки фар:
- проверьте давление в шинах и при необходимости подкачайте их;
- топливный бак должен быть заполнен по крайней мере на 3/4 или загрузите в багажное отделение груз весом 30 кг, соответствующий весу наполовину заполненного бака;
- загрузите место водителя нагрузкой, равной примерно 75 кг;
- установите перед автомобиля, по возможности, перед стеной темного цвета. Расстояние между передней частью автомобиля и стеной должно составлять точно пять метров;
- несколько раз надавите с усилием на автомобиль, чтобы сжать пружины подвески спереди и сзади, и установите переключатель угла освещения в положение «0»;
Регулировка фар автомобиля Форд Фокус 2

Знаменитый автомобиль Ford Focus II имеет высококачественную заводскую оптику. Основываясь на комплектации машины, внешнее освещение осуществляется посредством рефлектора и галогенной лампы или ксеноновой линзы с автоматическим омывателем.
Регулировка света фар транспортного средства – довольно редкое мероприятие, так как система имеет надежные компоненты. Тем не менее, если вы угодили в глубокую яму на дороге или побывали в ДТП, это могло вызвать смещение линзы или отражающей детали со штатного места. При этом настроить фары ближнего света не составит большого труда даже начинающему автолюбителю.
Как понять, нужна ли фарам регулировка?
Регулировка ближнего света для популярной американской техники необходима, если дорога недостаточно хорошо подсвечивается при передвижении ночью.
Существуют и визуальные показатели неправильной настройки:
- Движущиеся навстречу автомобили начали чаще моргать дальним светом при ночном перемещении по трассе;
- Пучок света «заваливается» в левую или правую сторону, недостаточно подсвечивая основную зону дорожного полотна;
- Световой поток значительно потускнел и направлен кверху, подсвечивая верхушки домов, деревьев и столбов;
- Луч слишком сваливается книзу, а освещения очень мало для ночного передвижения, даже если активировать дальний свет.
Если вы отметили хотя бы одно из перечисленных обстоятельств на своем автомобиле, необходимо регулировать фары. Для начала проверьте, какую позицию занимает переключатель электрокорректора фар внутри машины. Необходимо возвратить ручку в положение «0» и проверить, исчезла ли проблема. Необходимые настройки фар автомобиля дорестайл и рестайл-версии могли сбиться в результате случайной активации кнопки настройки пучка света, но если регулировка установлена верно, придется настраивать сам механизм узла.
На что влияет правильная регулировка фар Ford Focus II
Грамотная регулировка света Ford Focus II позволяет добиться требуемого уровня безопасности, включая получение отличного обзора при езде ночью и в плохую погоду. Пренебрегая настройкой, можно получить серьезные проблемы, к примеру, не заметив на обочине трассы другую машину или излишне ослепляя встречных водителей.
Регулировка фар своими руками возможна, но чтобы точно настроить всех характеристики, потребуются специальные инструменты и навыки. Чаще всего эта процедура производится в сервисном центре, но приблизительная регулировка возможна и «в домашних условиях».
При самостоятельной наладке можно воспользоваться регулировочными винтами, размещенными на корпусе фары, по 2 с каждой стороны. Один из винтов отвечает за горизонтальное положение светового потока и расположен в верхней тыльной зоне корпуса, а другой находится снизу фары и контролирует вертикальную позицию пучка света. Прокрутка винтов возможна с помощью плоской отвертки или 7-миллиметрового шестигранного ключа.
Правильная ручная регулировка требует размещения транспортного средства на ровной поверхности, примерно в трех метрах от ровной стены. Стоит залить полный бак топлива, а в багажник поместить запасное колесо и штатные инструменты. Это позволит подвеске переместиться в позицию, соответствующую традиционно снаряженной машине. На сиденье водителя эксперты советуют положить какой-либо груз массой 60-70 килограмм, также необходимо поставить угол светового потока в позицию «0».
Перед тем, как отрегулировать фары на Форд Фокус 2, требуется почистить фары и проверить давление в шинах, доведя его до рекомендуемых автоконцерном характеристик. Не забудьте взять плоскую отвертку, рулетку, Torx-звездочку, а также маркер.
Как отрегулировать фары Ford Focus 2
Регулировка фар Форд Фокус 2 – процедура вполне простая, для этого потребуется порядка 20 минут, да и особых навыков мероприятие не требует.
Следует сразу разобраться с версиями данного поколения американского автомобиля. Рестайлинговые машины появились в продаже в 2008 году и продавались до 2011 года. Рестайл-вариант фонарей головного света имеет значительные отличия от фар базовой модели Ford Focus II, но начинка никоим образом изменилась. Была скорректирована лишь форма и архитектура, однако найти регулировочные винты не составит большого труда, а их функционал остался прежним.
Как отрегулировать фары моего Ford Fusion
Есть две основные проблемы, связанные с неправильно отрегулированным освещением вашего Ford Fusion. Во-первых, они могут ослеплять других водителей или плохо освещать дорогу из-за слишком низкой интенсивности света. Во всех случаях неправильная регулировка может представлять опасность.
Кроме того, эта проблема может быстро возникнуть, особенно если вы решили заменить фары.
Важно знать
определить фары, требующие регулировки узнать, правильно ли отрегулированы фары на вашем Ford Fusion , чтобы просто отрегулировать освещение ваших фар на вашем Ford Fusion
1- Определите фары на моем Ford Fusion, которые необходимо отрегулировать
Ваш Ford Fusion оснащен несколькими передними и задними фарами, но только некоторые из них необходимо отцентрировать, чтобы обеспечить их правильную работу. Назначение ближнего и дальнего света состоит в том, чтобы видеть дорогу посреди ночи, поэтому необходима правильная регулировка. С другой стороны, стоп-сигнал или проблесковый маячок не требуют выравнивания при установке, поскольку их назначение — сигнализировать о действиях водителя.
фарах ближнего и дальнего света
2-Как узнать, правильно ли отрегулированы фары моего Ford Fusion?
Сейчас мы поможем вам оценить высоту луча ваших фар. Это, в частности, позволит вам узнать, соответствует ли ваш Ford Fusion условиям технического осмотра или нет. Итак, цель этой манипуляции — указать отметки на стене. Вам нужно будет сделать 2 горизонтальные метки, чтобы контролировать высоту светового луча
- левая высота
- высота правая
Следуя этим манипуляциям, вы нарисуете горизонтальную линию на стене, которая даст вам возможность определить, находится ли световой луч фар вашего Ford Fusion на правильном уровне
Для этого важно установить автомобиль в наилучших условиях, чтобы гарантировать хорошую регулировку
1- Расположите свой Ford Fusion для проверки настройки
- Первое, что нужно сделать, это припарковать свой Ford Fusion на ровной поверхности (избегайте парковки на склонах, неровностях и т. д.), расположите переднюю часть автомобиля в направлении белой или светлой стены.
- По возможности на примерно в десяти метрах от стены или из-за нехватки места у вас есть возможность произвести оценку на расстоянии 5 метров, но это будет менее точно
- Предпочтительно проводить манипуляции в конце дня, когда естественное освещение ниже.
Наконец, убедитесь, что в кабине вашего Ford Fusion фары находятся в нулевом положении
3- Материал, необходимый для расчета освещения на моем Ford Fusion
- Вооружитесь приведенным ниже оборудованием для работы
- Один метр для определения высоты фар вашего Ford Fusion
- Линейка или уровень
- Карандаш или цветная лента
- Отвертка
4-Рассчитайте высоту освещения на моем Ford Fusion
Оцените расстояние между лампой ближнего или дальнего света и землей с каждой стороны вашего Ford Fusion и перенесите его на стену.
Сделать ориентир
Регулировка высоты ближнего и дальнего света на моем Ford Fusion
Итак, как только метка закрепится на стене, откройте капот вашего Ford Fusion, чтобы отрегулировать фары. Найдите соседний оптический винт и отрегулируйте его высоту, поворачивая справа налево. Цель состоит в том, чтобы световые лучи вашего Ford Fusion находились чуть ниже отметки, чтобы достаточно освещать дорогу, не ослепляя. После правильной регулировки вы можете закрыть капот и проверить его на ночь.
Чтобы ознакомиться с другими руководствами по Ford Fusion, посетите другие страницы, посвященные Ford Fusion.
Регулировка света фар
Измерьте расстояние между землей и центром обеих фар. На стене наносим линию S1 на высоте, равной измеренной;
На 5 см ниже линии S1 прочертите на стене параллельную линию (Е). Это расстояние наклона ближнего света фар;
Определите середину автомобиля и обозначьте линией М. Обозначьте центр автомобиля точкой пересечения линий М и S1;
Измерьте расстояние между центром автомобиля и центральными точками фар. Перенесите этот размер на установочную линию Е (слева и справа) от центра автомобиля и обозначьте эти линии S2. Установочными точками для настройки фар являются точки пересечения линий Е и S2;
Если на вашем автомобиле установлены противотуманные фары, повторяем установку в описанной последовательности;
1 — регулировочный болт по вертикали;
2 — регулировочный болт по горизонтали

Регулировку фар проводите болтами при открытом капоте;
Включите зажигание и ближний свет;
Вращайте болт установки по вертикали, пока граница света и тени ближнего света с правой стороны не пересечется с установочной линией;
Вращайте болт установки по горизонтали, расположенный на внутренней стороне фары, пока излом световой картинки ближнего света точно не попадет на установочную точку (часть рассеянного света до 15% может лежать выше установочной линии);
После такой регулировки ближнего света дальний свет будет соответствовать норме.
Первая модель
В Фокусе 1 поколения с завода устанавливаются только галогеновые фары. Они легко поддаются самостоятельной регулировке.

Перед началом работ нужно отмыть фары, наполнить бак, очистить багажник. Регулировка осуществляется на расстоянии 3 м от стены на ровной поверхности. В отличие от ФФ второго поколения, высота светотеневой границы должна быть на 5 мм ниже от высоты лампы ближнего света до линии земли. Рефлектор меняет положение с помощью 2 винтов.
Правильная настройка фар обеспечит не только хорошую видимость во время движения, но и не доставит неудобств водителям во встречном потоке. Проверку светового пучка Фокуса нужно проводить не менее 1 раза в год при проведении ТО.
Допускается ли установка ксенона?
Самым доступным для владельцев Форд Фоку 2 является рестайлинг оптики, который заключается в замене галогеновых лампочек основного света, ПТФ и ДХО ксеноном. Ксеноновые лампы превосходят галогенки по многим параметрам и становятся все более популярными благодаря высокой яркости ламп, хорошим показателям освещенности и долговечности.
После установки ксенона улучшается видимость на дороге, что позволяет водителю лучше ориентироваться на дороге (автор видео — Cihan Gollu).
К недостаткам можно отнести:
- высокую стоимость;
- необходимость замены двух ламп, если из строя вышла одна;
- сложность установки.
У водителей возникает вопрос, разрешается ли установка ксенона на автомобиль
Конкретного запрета нет, важно, чтобы оптика соответствовала маркировке и ГОСТу. Это касается всей оптики, в том числе и ДХО. Рестайлинг головного света допускается при использовании раздельной оптики с отдельными фарами ближнего и дальнего света
Установку ксенона в противотуманки можно делать, если ПТФ предназначена для его использования, например, линзовые противотуманки
Рестайлинг головного света допускается при использовании раздельной оптики с отдельными фарами ближнего и дальнего света. Установку ксенона в противотуманки можно делать, если ПТФ предназначена для его использования, например, линзовые противотуманки.
Регулировка фар своими руками: советы и рекомендации

Настройка и регулировка фар — требуемая для каждого водителя процедура. Даже если автолюбителю кажется, что незначительные несоответствия углов наклона потока световых лучей не влияют на вождение по неосвещенной местности, на практике оказывается, что настройка света фар автомобиля спасает немало жизней.

Регулировка фар «Форда Фокус 2» и любой другой модели авто необходима.
Если замечаете «моргание» водителей встречных машин, проверьте, все ли с ней в порядке. Можете не тратить свое время, но потратить деньги, обратившись на СТО. Также можно провести регулировку фар форд фокус 3 своими руками.
Существует два метода построения схемы регулировки фар. Из материалов, которые понадобятся вам для самостоятельного регулирования — мел или малярный скотч.
Первый метод
Чтобы исправить корректор фар «Лада Гранта» или другого авто для ближней оптики, вам понадобится ровный участок. Его одна сторона упрется в стену (в идеале — гаражную). Требования к стене следующие:
- строго вертикальная;
- без неровностей, углов или выпуклостей.

Для регулировки света фар своими руками автомобиль должен располагаться от стены на расстоянии 7 м. После включения ламп проверьте следующие параметры:
- соответствует ли угол наклона оптики прямой, которую вы прочертили;
- в месте, где пятно света идет вверх, оно должно соответствовать пересекающимся прямым.
Настойка дальней оптики происходит аналогичным образом, но ориентироваться следует на верхнюю линию.
Второй метод
Регулировка света фар своими руками требует наличия машины и гаражной стены. Автомобиль устанавливается в десяти метрах от стены, соответствующим образом готовится — заправляется, а резина накачивается. За рулем сажают человека, соответствующего весу владельца.
Алгоритм регулировки фар своими руками далее таков:
- пометьте на стене участки, которые полностью соответствуют центральной части оптики. Это делается на том же расстоянии, что и в реальной жизни;
- соедините две точки прямой;
- начертите пару отрезков. Первый из них расположен выше на 0,22 м, а второй — ниже на 0,12 м.
После того как вы нанесли разметку, обозначьте ширину светового пучка корректора на 0. Второй линии должно соответствовать ограничение пятен света основных ламп, а третьей — верхняя граница противотуманок. Пересекаться потоки света (их горизонтальная и наклонная часть) обязаны в точке пересечения ниже и выше центра лампочек на 12 и 22 см соответственно. Следите, чтобы винты корректора располагались в штатном положении. Когда имеется гидрокорректор фар ВАЗ 2110 или другого авто, настраивайте его сообразно нагрузке, учитывая количество пассажиров в салоне, наличие груза и его массу.
Образование: Самарский автодорожный колледж. Инженер телекоммуникаций и электроники. Водитель второй категории/автослесарь. Навыки ремонта машин отечественного производства, ремонт ходовой, ремонт тормозной системы, ремонт коробок передач, кузовные…
okuzove.ru
Выводы
Правильная и своевременная регулировка фар на любом автомобиле является очень важным мероприятием, ведь от этого зависит не только ваша безопасность, но и других участников дорожного движения. Если фары отрегулированы неправильно, это значительно увеличивает риск дорожно-транспортных происшествий, так как излишне высоко идущий световой поток может ослеплять встречные транспортные средств и значительно ухудшать обзор.
Если все этапы пройдены правильно и рекомендации были соблюдены, даже новичок сможет выполнить грамотную настройку фар на своем Форд Фокус второго поколения. Вы моментально увидите положительный эффект от таких несложных действий, но после самостоятельной регулировки необходимо все же показать автомобиль специалистам на СТО, чтобы они убедились в правильности работы освещения.
Тем не менее, если вы не уверены в своих навыках и способности произвести самостоятельную настройку фар ближнего света автомобиля Ford Focus 2, лучше всего обратиться за помощью к профессионалам. СТО располагают специальным оборудованием для быстрой и эффективной настройки фонарей машины. Проведение регулировки светового потока в условиях сервисного центра не потребует внушительных денежных вложений, но зато вы будете уверены, что все работы проведут правильно и с соблюдением мер безопасности.
голоса
Рейтинг статьи





























